Îți vine să crezi că așa ar putea arăta un Porsche? Nu e o glumă, apropo!
De Redactor AE | 13 Ianuarie, 2020
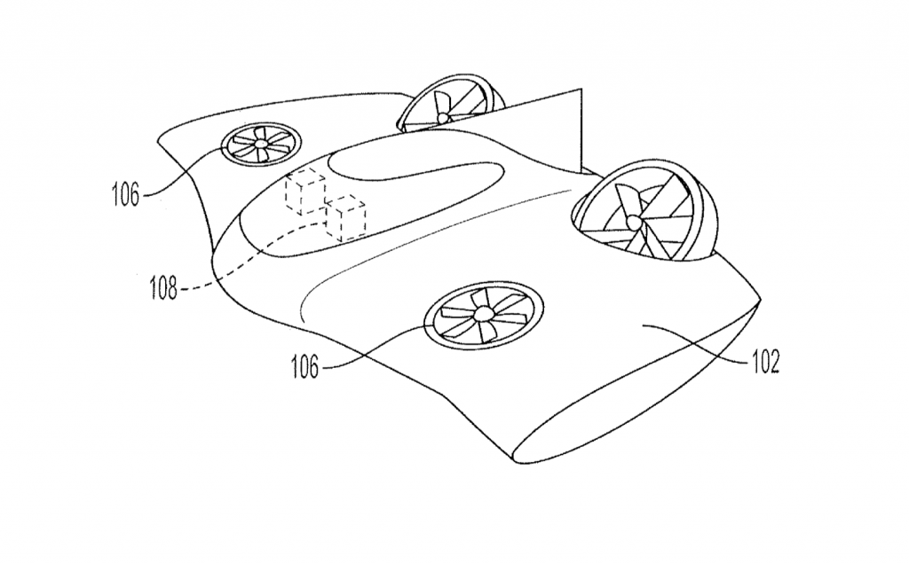
La scurt timp după ce Porsche și Boeing și-au anunțat parteneriatul în construcția unei mașini zburătoare, iată că a apărut și prima brevetare.
Compania germană a patentat astfel schițele primului vehicul zburător și sincer să fiu, asta mă fascinează în egală măsură în care mă și sperie. Nici nu ne-am acomodat la mașinile electrice, că deja apar vehicule capabile să survoleze spațiul aerian.
Nu îmi pot imagina un Cayenne zburând peste troleibuz și nu direct în el, dar se pare că viitorul este mai aproape decât credem.
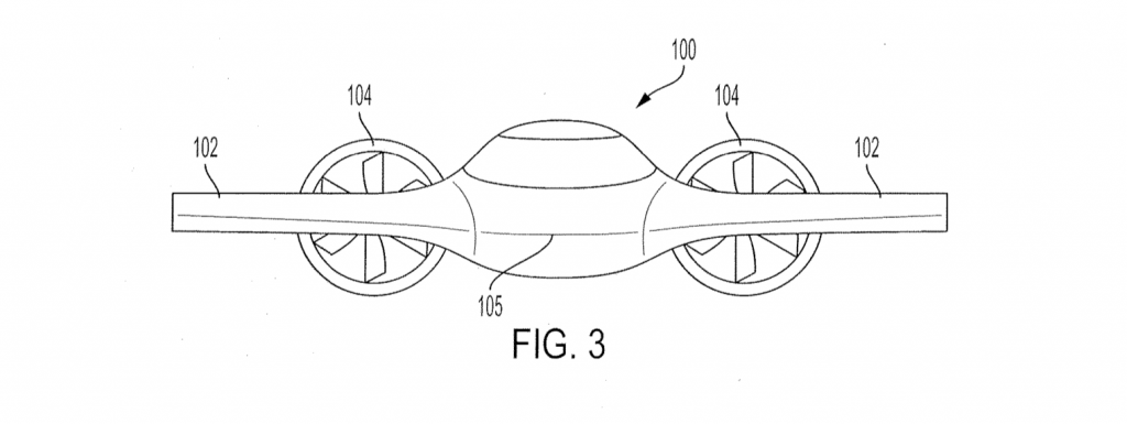
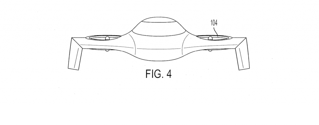
Noul vehicul, imaginile căruia au fost deconspirate anul trecut, iar astăzi sunt oficial publicate, dezvăluie un VTOL, vehicul capabil să decoleze vertical pentru a-și lua zborul.
Aici deja nu mai vorbim despre accelerație de la zero la prima sută, volum motor, stabilitatea în curbe, manevrabilitatea în spații înguste, sau sisteme de infotainment! Este ceva mult mai fascinant!
De acum încolo, va conta mai mult diametrul elicelor!





