Noile modele bavareze ar putea fi dotate cu grile inteligente și faruri integrate
De Inna | 23 Ianuarie, 2023
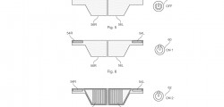
Constructorul bavarez de automobile a patentat o nouă tehnologie, care ar putea fi aplicată pe viitoarele modele cu zero emisii ale brandului german. Este vorba despre o grilă inteligentă cu farurile integrate.
Deși majoritatea internauților consideră că BMW instalează pe ultimile modele grile uriașe, producătorul nu intenționează să se limiteze aici. În această ordine de idei, oficialii BMW au depus un nou patent la Organizația Mondială a Proprietății Intelectuale.
Astfel, BMW patentează un nou proiect, care propune o parte frontală actualizată. În caz că proiectul va fi acceptat, atunci noile modele electrice vor fi dotate cu grilă inteligentă și faruri integrate, care va înlocui grila tradițională. Inginerii de la BMW intenționează să unească farurile și grila într-un singur element.
Potrivit oficialilor, acest proiect va ajuta la diversificarea designului viitoarelor modele electrice și la simplificarea acestora. Plus la toate, va crește și coeficientul aerodinamic, odată ce noua parte frontală va oferi mai puțină rezistență.






