Ford patentează transmisia manuală cu ambreiaj electric
De Inna | 14 Februarie, 2022
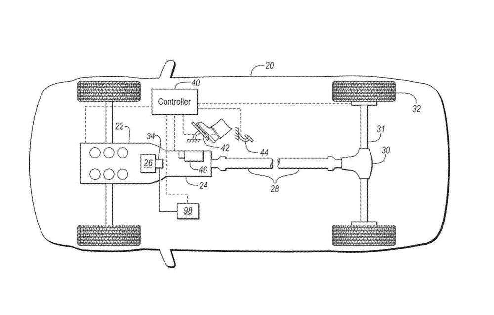
Constructorul american de automobile a înregistrat o cerere de patent pentru o transmisie manuală cu ambreiaj electronic. Oficialii de la Ford aifrmă că aceasta ar putea fi instalată pe orice model actual, însă încă nu a precizat dacă are în plan să o producă în serie.
Noua tehnologie propusă de Ford elimină conexiunea fizică dintre pedala de ambreiaj și rulmentul de presiune. În momentul în care șoferul va dori să schimbe viteza, ambreiajul va acșionat de software dezvoltat special. Această operațiune ar putea fi detectată cu ajutorul unor senzori.

Reprezentanții de la Ford au reiterat că cel mai probabil, pedala ar putea fi păstrată, doar în cazul conectării acesteia la un modul electric. Totodată, americanii susțin că nu este nevoie de modificări speciale pentru a integra o asemenea transmisie manuală cu ambreiaj electronic.
Totuși, producătorul american încă nu a menționat dacă noua tehnologie ar avea loc și în producția de serie a automobilelor.