Volvo a patentat o tehnologie inedită: Volanul glisant ce poate ”migra” pe partea opusă
De Sergiu | 6 Octombrie, 2020
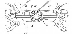
Constructorul suedez continuă să impresioneze și în desenele de patentă, prezentând primele imagini ale unei noi invenții Volvo ce prevede glisarea volanului dintr-o parte în alta. Conform spuselor constructorului, tehnologia e constituită dintr-un volan montat pe o șină care permite mutarea acestuia din stânga spre dreapta, fiind posibilă și poziționarea acestuia pe centru.
În eventualitatea implementării acestui sistem, se crede că va fi utilizat pentru mașinile ce vor veni cu un grad de autonomie ridicat sau vor fi complet autonome. O practică de acest gen ar fi foarte utilă în Marea Britanie, Japonia și Australia spre exemplu, unde o mașină de pe sensul de intrare în stat ar putea fi convertită la versiunea cu volan pe dreapta în doar câteva clipe.
Volvo menționează că mașina ar necesita să fie echipată cu două seturi de pedale, câte unul pe fiecare parte și că activarea acestora ar avea loc automat pe baza unor senzori care detectează poziția volanului.O asemenea configurație va permite șoferului, în cazul mașinilor autonome, să mute volanul în partea opusă în cazul unui blocaj în trafic, pentru a avea parte de mai mult confort.
Tehnologia se folosește de o serie de componente drive-by-wire, ce înlocuiesc sistemele mecanice cu analogi electronici.


